А 25
Б 28
В 37
Г 42
Д 50
З 19
И 4
К 73
Л 21
М 28
Н 20
О 12
П 44
Р 29
С 95
Т 14
У 12
Ф 4
Х 11
Ц 2
Ч 1
Ш 40
Щ 3
Э 14
Я 3
Газлифты, кронштейны, амортизаторы
Газовые горелки, баллоны, паяльные лампы
Газонокосилки STIHL, VIKING, мотокосы FS, триммеры FSE, мотоблоки HB и аксессуары
Газонокосилки и расходники Makita
Газонокосилки Интерскол
Газонокосилки, бензокосы, триммеры MAKITA, Интерскол
Гайка DIN934 (ГОСТ 5927,5915-70)
Гайка барашковая DIN315
Гайка высокопрочная 10.0 DIN934 оксидированная
Гайка квадратная DIN557, DIN562
Гайка колпачковая DIN1587
Гайка корончатая (прорезная) DIN 935
Гайка латунная DIN934
Гайка низкая DIN 439 (ГОСТ 5929)
Дюбель гвоздевой SM (для быстрого монтажа), Польша
Дюбель гвоздевой SMD, SMKD (для быстрого монтажа), Россия
Дюбель гвоздевой SMK (для быстрого монтажа) с бортиком, Польша
Дюбель для водостоков KPD с шурупом, Wkret-Met
Дюбель для газобетона металлический MUD
Дюбель для газобетона нейлон GB
Дюбель для ГКЛ, Wkret-Met
Дюбель для ГКЛ, Россия, Китай
Дюбель для мягкой кровли LINO-N (нейлон)
Дюбель для термоизоляции IZO, IZM, IZL-T (Россия)
Дюбель для термоизоляции с металлич стержнем LIM,LFM,LMX, WKTHERM,KI
Дюбель для термоизоляции с пласт стержнем LTX
Дюбель для тонких листов Expandet (Швейцария)
Дюбель для тонких листов и ГКЛ "Молли"
Дюбель полипропилен 4-BS-K универсальный
Дюбель полипропилен RD, RDM /красный, белый, RDR
Дюбель полипропилен RL по бетону /зеленый
Дюбель полипропилен S, по бетону, с усом
Дюбель полипропилен U, UБ, универсальный/ОРАНЖ
Дюбель полипропилен К /синий
Дюбель рамный двойная зона распора, KEW
Дюбель распорный универсальный RUC с потолочным крюком, WM, Польша
Дюбель распорный универсальный RUL с простым крюком, WM, Польша
Дюбель распорный универсальный RUO с петельным крюком, WM, Польша
Дюбель складной пружинный
Дюбель универсальный SFX, KPW, Wkret-Met /Польша/
Дюбель фасадный KPK, KPO, KPR-FAST, KPR-PIKE (с шурупом), WM, Польша)
Дюбель фасадный KPR (без шурупа) Wkret-Met, Польша
Дюбель-гвоздь забиваемый, металлический
Дюбель-гвоздь по бетону для газовых пистолетов
Дюбель-гвоздь под пистолет
Дюбель-хомуты, клипсы для труб
Дюбельная техника
Карабины
Каски, пояса монтажные, плащи, жилеты
Кельмы
Кисти
Кисть круглая натуральная светлая щетина в пластмассовой оправке
Кисть маховая, мочальная, макловица
Кисть плоская для лака смешанная темная синт. щетина Black White
Кисть плоская для лака, темная синтетическая щетина, Профи
Кисть плоская натуральная светлая щетина
Кисть плоская натуральная/смешанная светлая щетина Профи
Кисть плоская светлая смешанная синтетическая щетина Old School,
Кисть плоская универсальная, серебристо-светлая синтетическая щетина PREMIUM
Кисть плоская универсальная, смешанная светлая синтетическая щетина Black White
Кисть плоская черная для грунта, синтетическая щетина, Профи
Кисть радиаторная, натуральная светлая щетина
Киянки
Клей Момент, Секунда, COSMOFEN
Клей монтажный (жидкие гвозди) TYTAN, МОМЕНТ
Клинья монтажные
Ключи
Ключи гаечные комбинированные
Ключи гаечные рожковые и накидные
Ключи имбусовые,шестигранник
Ключи разводные трубные
Ключи трубчатые двухсторонние
Кляймер
Колеса промышленные
Кольца
Кольца стопорные наружные DIN471, внутренние DIN472
Кольцо с метрической резьбой
Коронка Bi-Metall крупный зуб
Коронка Bi-Metall мелкий зуб
Коронка алмазная для армир. бетона, бетона, кирпича UNC АТИС 1 1/4"
Коронка алмазная для керамогранита, бетона Distar, Diamond Industrial, Hardcore
Коронка по бетону с победитовым зубом
Коронка по кафелю карбидная
Коронка по металлу в сборе, Novocraft
Коронки алмазные для стекла и кафеля
Коронки по дереву
Корщетка
Коуши DIN6899B
Краска аэрозольная
Крепеж для унитаза, умывальника BKMM,BKMU
Крепежные изделия Fischer /Германия/
Крепежные изделия SORMAT /Финляндия/
Крепежные изделия Wkret-Met /Польша/
Крепление для маяков (штукатурных профилей), КРЕММЕР
Крепление для строительных лесов
Крепление универсальное полиуретановое
Крестики для плитки
Садовый и туристический инструмент Plantic
Садовый инвентарь GARDENA
Садовый инвентарь VERTO, OKINAWA
Садовый инвентарь Центроинструмент
Саморезы
Саморезы по металлу, бетону, дереву WSR, WDB, WBSW для LINO
Саморезы ГКЛ-дерево/крупная резьба
Саморезы ГКЛ-дерево/крупная резьба, оцинкованные
Саморезы ГКЛ-металл/частая резьба
Саморезы двузаходные (для ГВЛ)
Саморезы дерево-металл "с ушами" WM
Саморезы для дерева и террас потайные, нержавеющие, Wkret-Met, Infix
Саморезы для деревянных полов (отделочные) потай. желтый цинк, Torx
Саморезы для крепления металлических профилей ("семечки") (3,5*11; 3,8*11; 3,9*9,5)
Саморезы для крепления сэндвич-панелей
Саморезы кровельные оцинкованые
Саморезы кровельные цветные
Саморезы нержавеющие
Саморезы оконные, сверло, d-3,9 и JP
Саморезы по дереву WKLC-B, WKSS-B, Wkret-Met
Саморезы по дереву конструкционные WKCP, с прижимной шайбой Wkret-Met, Fischer
Саморезы по дереву конструкционные WKCS, потай, Torx, Wkret-Met
Саморезы по дереву потай, желтый цинк, Torx, Wkret-Met
Саморезы по дереву с полукруглой головой, WM, Fischer
Саморезы потай сверлоконечные оцинк.
Саморезы прессшайба острые
Саморезы прессшайба острые цветные
Саморезы прессшайба сверлоконечные
Саморезы прессшайба сверлоконечные цветные
Сварочные инверторы, стабилизаторы РЕСАНТА
Сверла
Сверла по дереву перовые
Сверла по дереву перовые KEILBIT
Сверла по дереву спиральные
Сверла по дереву спиральные KEIL
Сверла по дереву спиральные балочные
Сверла по дереву Форстнера
Сверла по пенобетону
Сверло по бетону KEIL, Wkret-Met, Практика
Сверло по граниту ударное PRIMUS, KEIL
Сверло по кирпичу ударное KEILER
Сверло по металлу cтупенчатое, конусовидное
Сверло по металлу RUKO /Германия/
Сверло по металлу длинная серия
Сверло по металлу и нержавеющей стали кобальтовое DIN 338, KEIL
Сверло по металлу корончатое (кольцевая фреза)
Сверло по металлу нешлифованое Россия
Сверло по металлу нитрид-титановое DIN 338, ПрофОснастка
Сверло по металлу стандарт (черное) DIN 338, KEIL
Сверло по металлу твердосплавное DIN 8037, KEIL
Сверло по металлу шлифованное двустороннее, заточка Split Point DIN 338
Сверло по металлу шлифованное укороченная серия DIN 1897, KEIL
Сверло по металлу шлифованное, заточка Split Point DIN 338, KEIL
Сверло по металлу шлифованное, шестигранный хвостовик, KEILBIT
Сверло по натуральному камню, граниту
Сверло по стеклу и кафелю
Сверло универсальное ударное GOLDCRAFT KEIL
Секаторы, сучкорезы
Серпянка
Сетка абразивная
Система выравнивания плитки
Система для дистанционного монтажа Thermax, Fischer
Скоба крепежная
Скоба монтажная ETR F DIN3570
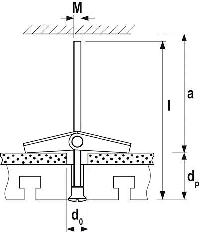
Дюбель опрокидывающийся KD4 пружинно-разжимной, Fischer
Особенности
Дюбель опрокидывающийся KD4 пружинно-разжимной, Fischer Дюбели для разнообразного применения в пустотелых и листовых материалах
Самоустанавливающиеся и пружинные дюбели пригодны для предварительного монтажа. При установке в просверленное отверстие несущие элементы самоустанавливающихся и пружинных дюбелей самостоятельно раскрываются с обратной стороны панели. Данные дюбели могут так же применяться для крепления раковин умывальников и писсуаров в монтажных конструкциях и пустотелых стенах. Никакого специального монтажного инструмента не требуется. Использование пружинных дюбелей Fischer способствует быстрому и удобному монтажу. Преимущества:
Длинная резьбовая шпилька раскрывающихся дюбелей KD и KDH позволяет использовать их с листовыми материалами различной толщины, что обеспечивает максимальную гибкость данного метиза. Встроенная пружина действует на раскрывающиеся элементы пружинного дюбеля KD 3+4 и KDH 3+4 немедленно, обеспечивая простую установку. Широкие ребра обеспечивают оптимальное распределение нагрузки, что дает высоку несущую способность. Технические характеристики:
Материал:
Применение:
Пружинный дюбель Fischer применяется для монтажа самых разных объектов, например картин, светильников, легких полок и шкафов, держателей для полотенец, зеркальных шкафов, раковин и писсуаров. Допущен для использования с материалами: гипсокартонные и гипсоволокнистые плиты, пустотелые плиты перекрытий из кирпича и бетона, ДСП, фанера. Купить Дюбель опрокидывающийся KD4 пружинно-разжимной Fischer в Екатеринбурге и Свердловской области можно в сети магазинов КРЕПЕЖ-СИТИ.
ВНИМАНИЕ! На сайте указано наличие товара на складе в Екатеринбурге. Наличие в магазинах просьба уточнять по телефонам.
Доставка по Екатеринбургу от 5 тыс руб. Доставка до ТК бесплатно. Скидки для постоянных покупателей. Интернет-заказы обрабатываются в рабочие дни с 10 до 18 часов.
Теги: Дюбель
Вернуться к списку товаров
Как заказать?
С этим товаром также покупают
Прайс-листы на продукцию
Цены в прайс-листе актуальны на 16.04.2026
Вы недавно смотрели
Артикул 32-816 Окр
В корзину
Артикул ЭЭ005087
В корзину
Артикул УК707055/407217
В корзину